10-11-2014, 11:37 AM
Hiện nay cửa kính là một phần quan trọng không thể thiếu cho các công trình lớn từ các trung tâm thương mại, siêu thị, cao ốc đến những công trình nhỏ như nhà ở. Cửa kính giúp cho văn phòng hay nhà ở thoáng mát, sáng sủa, rộng rãi hơn.
Ở bài viết này Việt Bắc xin giới thiệu đến quý vị tìm hiểu về kính và phụ kiện kính cường lực để có thể lựa chọn cho mình các loại cửa kính cường lực tốt nhất.
Kính an toàn cường lực hay còn gọi kính gia nhiệt, tên tiếng anh temper glass, được sản xuất theo phương pháp gia cường dao động ngang trên dây chuyền công nghệ hiện đại theo tiêu chuẩn châu Âu. Kính nổi chất lượng cao được gia nhiệt đến điểm biến dạng và sau đó nhanh chóng làm nguội bằng luồng khí lạnh thổi lên bề mặt tấm kính một cách đồng đều và chính xác để làm đông cứng các ứng suất nén trên bề mặt kính. Qui trình này không làm thay đổi tính năng truyền sáng và tỏa nhiệt của kính nhưng nó làm tăng sức chịu nén bề mặt lên đến hơn 10.000psi (trong khi kính nổi thông thường chỉ chịu được dưới 3.500 psi). Áp suất của gió, sự va đập của vật thể lạ và những ứng suất nhiệt được tạo nên từ những yếu tố khác phải lớn hơn sức nén này thì kính cường lực mới có thể bị vỡ.
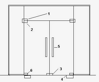
Sơ đồ lắp cửa kính cường lực từ các phụ kiện kính cường lực lại với nhau:
Các phụ kiện cửa kính cường lực sau sẽ tạo nên một cửa kính cường lực hoàn chỉnh.
Các bước trong quy trình sản xuất kính cường lực
Bước 1: Kính tấm nguyên khổ được đưa qua máy cắt để cắt theo quy cách đơn đặt hàng. Sau khi đã cắt theo yêu cầu, kính sẽ được đưa qua bộ phận mài, khoan, khoét theo yêu cầu của khách hàng, sau đó kính được chuyển qua thiết bị rửa và sấy khô để xử lý sạch bề mặt
Bước 2: Kính sẽ được kiểm tra kỹ xem đã đạt yêu cầu trước khi đưa vào lò cường lực (Bước này rất quan trọng vì sau khi cường lực xong thì kính sẽ không gia công được nữa, nếu sai phải đập bỏ)
Bước 3: Kính được chuyển sang vị trí chờ cường lực và in logo kính an toàn cường lực bằng sơn men (logo sơn men này sẽ bám rất chắc vào kính sau khi cường lực).
Bước 4: Kính được đưa vào lò tôi kính để gia nhiệt đến điểm biến dạng và sau đó được nhanh chóng đưa ra khỏi lò và làm nguội bằng luồng khí lạnh một cách đồng đều và chính xác để đông cứng các ứng suất nén trên bề mặt kính và đồng thời giữ nguyên chất lượng kính.
Bước 5: Kính thành phẩm được lấy ra khỏi dây chuyền và chuyển sang bộ phận kiểm tra xuất xưởng
Qua bài viết trên hy vọng sẽ giúp ích cho quý vị trong việc tìm hiểu về kính và phụ kiện kính cường lực.
Quý khách có nhu cầu về phụ kiện kính hoặc phụ kiện ngành xây dựng liên hệ: 093.32.99.216 hoặc truy cập website: vietbacvn.com
Ở bài viết này Việt Bắc xin giới thiệu đến quý vị tìm hiểu về kính và phụ kiện kính cường lực để có thể lựa chọn cho mình các loại cửa kính cường lực tốt nhất.
Kính an toàn cường lực hay còn gọi kính gia nhiệt, tên tiếng anh temper glass, được sản xuất theo phương pháp gia cường dao động ngang trên dây chuyền công nghệ hiện đại theo tiêu chuẩn châu Âu. Kính nổi chất lượng cao được gia nhiệt đến điểm biến dạng và sau đó nhanh chóng làm nguội bằng luồng khí lạnh thổi lên bề mặt tấm kính một cách đồng đều và chính xác để làm đông cứng các ứng suất nén trên bề mặt kính. Qui trình này không làm thay đổi tính năng truyền sáng và tỏa nhiệt của kính nhưng nó làm tăng sức chịu nén bề mặt lên đến hơn 10.000psi (trong khi kính nổi thông thường chỉ chịu được dưới 3.500 psi). Áp suất của gió, sự va đập của vật thể lạ và những ứng suất nhiệt được tạo nên từ những yếu tố khác phải lớn hơn sức nén này thì kính cường lực mới có thể bị vỡ.
Sơ đồ lắp cửa kính cường lực từ các phụ kiện kính cường lực lại với nhau:
Các phụ kiện cửa kính cường lực sau sẽ tạo nên một cửa kính cường lực hoàn chỉnh.
![[Image: kep-duoi-chu-I.jpg]](http://1.bp.blogspot.com/-0PfMrACauhE/VCvJtCcTI1I/AAAAAAAAAak/q7wXR1Dv6qA/s1600/kep-duoi-chu-I.jpg)
Kẹp kính dưới chữ I
![[Image: kep-goc-chu-L.jpg]](http://1.bp.blogspot.com/-Ml2lGFDol9s/VCvJtPBndII/AAAAAAAAAag/joykuHKm2po/s1600/kep-goc-chu-L.jpg)
Kẹp kính góc chữ L
![[Image: khoa-san.jpg]](http://4.bp.blogspot.com/-w6tRhhgq7qw/VCvJtKwBwEI/AAAAAAAAAac/lRHAXT4vSmY/s1600/khoa-san.jpg)
Khóa cửa kính
![[Image: tay-cua-kinh-t03.png]](http://3.bp.blogspot.com/-bZB9KTtWUiE/VCvNUi0hxAI/AAAAAAAAAbQ/kFOytFcYI-U/s1600/tay-cua-kinh-t03.png)
Tay nắm cửa kính
![[Image: vi-tri-lap-dat-cua-tu-dong-2.jpg]](http://1.bp.blogspot.com/-nY-CJ9yy1So/VCvJuCGu1cI/AAAAAAAAAa0/JrP5CA7R7UU/s1600/vi-tri-lap-dat-cua-tu-dong-2.jpg)
![[Image: vi-tri-lap-dat-cua-tu-dong.jpg]](http://2.bp.blogspot.com/-5VoofBgv8NQ/VCvJuLkI3_I/AAAAAAAAAa4/EGdcq7xtxtY/s1600/vi-tri-lap-dat-cua-tu-dong.jpg)
Các bước trong quy trình sản xuất kính cường lực
Bước 1: Kính tấm nguyên khổ được đưa qua máy cắt để cắt theo quy cách đơn đặt hàng. Sau khi đã cắt theo yêu cầu, kính sẽ được đưa qua bộ phận mài, khoan, khoét theo yêu cầu của khách hàng, sau đó kính được chuyển qua thiết bị rửa và sấy khô để xử lý sạch bề mặt
Bước 2: Kính sẽ được kiểm tra kỹ xem đã đạt yêu cầu trước khi đưa vào lò cường lực (Bước này rất quan trọng vì sau khi cường lực xong thì kính sẽ không gia công được nữa, nếu sai phải đập bỏ)
Bước 3: Kính được chuyển sang vị trí chờ cường lực và in logo kính an toàn cường lực bằng sơn men (logo sơn men này sẽ bám rất chắc vào kính sau khi cường lực).
Bước 4: Kính được đưa vào lò tôi kính để gia nhiệt đến điểm biến dạng và sau đó được nhanh chóng đưa ra khỏi lò và làm nguội bằng luồng khí lạnh một cách đồng đều và chính xác để đông cứng các ứng suất nén trên bề mặt kính và đồng thời giữ nguyên chất lượng kính.
Bước 5: Kính thành phẩm được lấy ra khỏi dây chuyền và chuyển sang bộ phận kiểm tra xuất xưởng
Qua bài viết trên hy vọng sẽ giúp ích cho quý vị trong việc tìm hiểu về kính và phụ kiện kính cường lực.
Quý khách có nhu cầu về phụ kiện kính hoặc phụ kiện ngành xây dựng liên hệ: 093.32.99.216 hoặc truy cập website: vietbacvn.com